Редуктор червячный одноступенчатый 1Ч-63А

Редуктор 1Ч-63А червячный используется для изменения показателей угловой скорости и непосредственно момента двигателя через червячную передачу, которая расположена внутри механизма. Универсальная конструкция и принцип действия редуктора делает его оборудованием, относящимся к общепромышленному классу. От конкретного типоразмера червячного редуктора зависит показатель номинального крутящего момента, габариты и масса. Используется в условиях постоянной и переменной нагрузки. Вращение валов может осуществляться в любую сторону без предпочтения какой-либо одной. К особенностям червячного редуктора относится его невзрывоопасность и эффективность использования в неагрессивных средах.
Цена: от 6 900 руб.
Скачать прайс:
УСЛОВИЯ ПРИМЕНЕНИЯ РЕДУКТОРОВ:
- нагрузка постоянная и переменная одного направления и реверсивная;
- работа постоянная и с периодическими остановками;
- вращение валов в любую сторону;
- температура внешней среды от - 40°С до + 50°С; внешняя среда — неагрессивная, невзрывоопасен.
Общее описание:



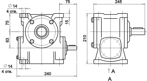
РИС 1. Габаритные и присоединительные размеры
Технические характеристики
| Частота вращения входного вала, об/мин | Режим работы редуктора | Допускаемый крутящий момент на выходном валу, Н . м | ||||||||||
|---|---|---|---|---|---|---|---|---|---|---|---|---|
| при номинальных передаточных числах | ||||||||||||
| 8,0 | 10,0 | 12,5 | 16,0 | 20,0 | 25,0 | 31,5 | 40,0 | 50,0 | 63,0 | 80,0 | ||
| 1500 | ПВ>63% | 130 | 130 | 120 | 130 | 130 | 120 | 130 | 130 | 125 | 110 | 105 |
| ПВ=63% | 140 | 125 | 125 | 150 | 132 | 125 | 170 | 160 | 132 | 106 | 100 | |
| ПВ=40% | 160 | 132 | 132 | 160 | 140 | 132 | 200 | 170 | 140 | 106 | 100 | |
| ПВ=25% | 160 | 140 | 132 | 180 | 140 | 132 | 200 | 180 | 150 | 112 | 106 | |
| ПВ=16% | 170 | 150 | 132 | 190 | 150 | 140 | 200 | 190 | 150 | 112 | 106 | |
| 1000 | ПВ>63% | 145 | 145 | 140 | 145 | 145 | 140 | 145 | 145 | 140 | 120 | 115 |
| ПВ=63% | 160 | 140 | 140 | 170 | 150 | 140 | 100 | 180 | 150 | 120 | 110 | |
| ПВ=40% | 180 | 150 | 150 | 180 | 160 | 150 | 200 | 190 | 160 | 120 | 110 | |
| ПВ=25% | 180 | 160 | 150 | 200 | 160 | 150 | 210 | 200 | 170 | 125 | 120 | |
| ПВ=16% | 190 | 170 | 150 | 210 | 170 | 160 | 220 | 210 | 170 | 125 | 120 | |
| 750 | ПВ>63% | 160 | 160 | 155 | 160 | 160 | 155 | 160 | 160 | 150 | 135 | 130 |
| ПВ=63% | 180 | 180 | 160 | 190 | 170 | 160 | 220 | 210 | 170 | 130 | 130 | |
| ПВ=40% | 210 | 170 | 170 | 210 | 180 | 170 | 240 | 220 | 180 | 130 | 130 | |
| ПВ=25% | 210 | 180 | 170 | 240 | 180 | 170 | 250 | 240 | 190 | 140 | 140 | |
| ПВ=16% | 220 | 190 | 170 | 250 | 190 | 180 | 260 | 250 | 190 | 140 | 140 | |
| Частота вращения входного вала, об/мин | Коэффициент полезного действия, % | ||||||||||
|---|---|---|---|---|---|---|---|---|---|---|---|
| при номинальных передаточных числах | |||||||||||
| 8,0 | 10,0 | 12,5 | 16,0 | 20,0 | 25,0 | 31,5 | 40,0 | 50,0 | 63,0 | 80,0 | |
| 1500 | 89 | 88 | 87 | 84 | 83 | 81 | 74 | 73 | 68 | 62 | 60 |
| 1000 | 88 | 87 | 86 | 82 | 81 | 79 | 71 | 69 | 65 | 59 | 57 |
| 750 | 87 | 86 | 85 | 82 | 80 | 78 | 69 | 67 | 63 | 56 | 54 |
| Допускаемая радиальная консольная нагрузка на выходном валу | |
|---|---|
| при вариантах сборки 51, 52 - 3000 Н | при вариантах сборки 53, 56 - 1500 Н |

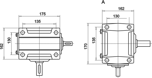
РИС2. Вариант сборки
Масса редуктора, кг
(в зависимости от варианта крепления и сборки)
| Вариант крепления | с алюминиевым корпусом | с чугунным корпусом | |||||
|---|---|---|---|---|---|---|---|
| при вариантах сборки | |||||||
| 51; 52 | 53 | 56 | 51; 52 | 53 | 56 | ||
| 1 | 12,0 | 12,5 | 11,5 | 15,5 | 16,0 | 15,0 | |
| 2 | 12,0 | 12,5 | 11,5 | 14,5 | 15,0 | 14,0 | |
| 3; 4 | 12,0 | 12,5 | 11,5 | 14,5 | 15,0 | 14,0 | |
Пример условного обозначения при заказе:
Редуктор 1Ч-63А-40-52, где:
- 1Ч — редуктор червячный
- 63 — межосевое расстояние, мм
- 40 — номинально передаточное число
- 52 — вариант сборки