Цилиндрические соосные мотор-редукторы 5МП31,5, 5МП40, 5МП50

Соосные цилиндрические мотор-редукторы 5МП31,5, 5МП40, 5МП50 являются полными аналогами российских планетарных приводов серии 3МП31,5, 3МП40, 3МП50. По своим характеристикам чешские аналоги значительно превосходят российские мотор-редукторы при этом имеют оптимальную стоимость. Завод-изготовитель редукторов - TOS ZNOJMO (Чехия). В качестве материалов применяются современные сплавы прошедшие термическую обработку тем самым удалось добиться высоких показателей КПД и точность зацепления. В процессе работы агрегат не издает шума и вибраций, а благодаря алюминиевому корпусу вес значительно ниже российского аналога. Для удобства при монтаже в основании корпуса имеются лапы, в вертикальном положении редуктор можно закрепить с помощью опорного фланца.
Цена: от 13 300 руб.
Базовые условия использования цилиндрических соосных мотор-редукторов:
- Режимы работы оборудования: продолжительный – до 24 часов, с перерывами – до 8 часов;
- Особенности и характер нагрузки: постоянная/переменная, одного направления/реверсивная;
- Максимально допустимая высота над уровнем моря не должна превышать отметку 1000 м;
- Характер внешней среды: неагрессивная, невзрывоопасная, максимальная концентрация непроводящей пыли <10 мг/м.куб.;
- Климатические особенности исполнения устройств: У(N) – для умеренного климата, категория размещения 3, для применения в помещениях с колебания температуры/влажности значительно меньше, чем в условиях открытого воздуха, рабочая температура в пределах от -45°С до +40°С, или исполнение Т — для тропического климата с категорией размещения 2, применение под навесом или в помещении с колебаниями температуры/влажности незначительно отличающимися от условий открытого воздуха, рабочий температурный диапазон от -10°С до +45°С.
Общее описание:
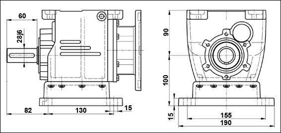
Габаритные и присоединительные размеры 5МП31,5

5МП40

5МП50

Монтажные позиции

Технические характеристики
|
Наимено- |
Номинальная частота вращения выходного вала, об/ мин |
Фактическая частота вращения выходного вала, об/ мин |
Переда- |
Номинальный крутящий момент на выходном валу, Н·м |
Сервис-фактор |
Электро- |
Кол-во ступеней |
|---|---|---|---|---|---|---|---|
|
5МП–31,5 |
3,55 |
|
|
|
|
|
|
|
5,6 |
7.76 |
121.42 |
|
|
0.09/700 |
3 |
|
|
7,1 |
7 |
100.13 |
|
|
0.09/700 |
3 |
|
|
7.2 |
121.42 |
120 |
1.7 |
0.09/900 |
3 |
||
|
9 |
9 |
100.13 |
|
|
0.12/900 |
3 |
|
|
12,5 |
12.2 |
110.26 |
140.4 |
1.4 |
0.18/1400 |
3 |
|
|
16 |
15.1 |
89.62 |
158.5 |
1.3 |
0.25/1400 |
3 |
|
|
18 |
17 |
79.59 |
140.8 |
1.4 |
0.25/1400 |
3 |
|
|
22,4 |
21.2 |
63.78 |
112.8 |
1.8 |
0.25/1400 |
3 |
|
|
28 |
29.1 |
47.1 |
121.4 |
1.6 |
0.37/1400 |
3 |
|
|
27.5 |
33.4 |
128.3 |
1.6 |
0.37/900 |
3 |
||
|
30 |
25.1 |
|
|
0.37/750 |
2 |
||
|
35,5 |
37.6 |
37.1 |
139.6 |
1.41 |
0.55/1400 |
3 |
|
|
36 |
25.1 |
144.6 |
1.4 |
0.55/900 |
2 |
||
|
36 |
20.7 |
|
|
0.55/750 |
2 |
||
|
45 |
46 |
30.3 |
114.2 |
1.8 |
0.55/1400 |
3 |
|
|
44 |
20.7 |
119.2 |
1.7 |
0.55/900 |
2 |
||
|
46 |
16.4 |
|
|
0.55/750 |
2 |
||
|
56 |
56 |
25.1 |
128.6 |
1.6 |
0.75/1400 |
2 |
|
|
55 |
16.4 |
128.5 |
1.6 |
0.75/900 |
2 |
||
|
71 |
69 |
20.7 |
153.4 |
1.3 |
1.1/1400 |
2 |
|
|
71 |
12.9 |
148.6 |
1.3 |
1.1/900 |
2 |
||
|
90 |
86 |
16.4 |
121.9 |
1.6 |
1.1/1400 |
2 |
|
|
92 |
9.9 |
113.8 |
1.5 |
1.1/900 |
2 |
||
|
112 |
110 |
12.9 |
130.5 |
1.5 |
1.5/1400 |
2 |
|
|
117 |
7.9 |
121.7 |
1.2 |
1.5/900 |
2 |
||
|
112 |
25.1 |
|
|
1.5/2800 |
2 |
||
|
140 |
143 |
9.9 |
146.6 |
1.2 |
2.2/1400 |
2 |
|
|
135 |
20.7 |
|
|
2.2/2800 |
2 |
||
|
180 |
181 |
7.9 |
116.3 |
1.3 |
2.2/1400 |
2 |
|
|
280 |
283 |
9.9 |
|
|
4.0/2800 |
2 |
|
|
365 |
372 |
3.76 |
75.9 |
1.3 |
3.0/1400 |
2 |
|
|
355 |
7.9 |
|
|
3.0/2800 |
2 |
||
|
5МП-40 |
5,6 |
5.9 |
118.54 |
|
|
0.12/700 |
3 |
|
7,1 |
|
|
|
|
|
|
|
|
9.0 |
|
|
|
|
|
|
|
|
12,5 |
|
|
|
|
|
|
|
|
16 |
15 |
50.7 |
|
|
0.37/750 |
3 |
|
|
18 |
18 |
50.7 |
|
|
0.55/900 |
3 |
|
|
22,4 |
|
|
|
|
|
|
|
|
28 |
28 |
50.7 |
|
|
0.75/1400 |
2 |
|
|
30 |
25.4 |
|
|
0.75/750 |
2 |
||
|
35,5 |
35.5 |
25.4 |
|
|
1.1/900 |
2 |
|
|
37.5 |
20 |
|
|
1.1/750 |
2 |
||
|
45 |
45 |
20 |
|
|
1.1/1400 |
2 |
|
|
56 |
55 |
25.4 |
|
|
1.5/1400 |
2 |
|
|
71 |
70 |
20 |
|
|
2.2/1400 |
2 |
|
|
90 |
92 |
15.2 |
|
|
2.2/1400 |
2 |
|
|
90 |
10 |
|
|
2.2/900 |
2 |
||
|
112 |
110 |
25.4 |
|
|
3.0/3000 |
2 |
|
|
117 |
7.7 |
|
|
3.0/900 |
2 |
||
|
140 |
140 |
10 |
|
|
4.0/1400 |
2 |
|
|
140 |
20 |
|
|
4.0/2800 |
2 |
||
|
180 |
182 |
7.7 |
|
|
5.5/1400 |
2 |
|
|
224 |
|
|
|
|
|
|
|
|
400 |
|
|
|
|
|
|
|
|
460 |
|
|
|
|
|
|
|
|
5МП–50 |
3,55 |
3,7 |
189 |
730 |
1 |
0,25/700 |
3 |
|
5,6 |
5,4 |
167,4 |
966 |
0,8 |
0,55/900 |
3 |
|
|
7,1 |
7,4 |
189,3 |
712,8 |
1,2 |
0,55/1500 |
3 |
|
|
9,0 |
8,3 |
167,4 |
630,1 |
1,3 |
0,55/1500 |
3 |
|
|
12,5 |
12 |
116,5 |
598 |
1,4 |
0,75/1500 |
3 |
|
|
16,0 |
15,4 |
90,7 |
465,6 |
1,8 |
0,75/1500 |
3 |
|
|
18,0 |
17,6 |
80,2 |
595,2 |
1,4 |
1,1/1500 |
3 |
|
|
22,4 |
22,4 |
63 |
468 |
1,4 |
1,5/1500 |
3 |
|
|
28,0 |
28,9 |
49,2 |
495,9 |
1,7 |
1,5/1500 |
3 |
|
|
35,5 |
36,9 |
38,5 |
569,6 |
1,4 |
2,2/1500 |
3 |
|
|
45,0 |
46,9 |
30,3 |
447,9 |
1,8 |
2,2/1500 |
3 |
|
|
56,0 |
53 |
26,8 |
540,5 |
1,5 |
3,0/1500 |
3 |
|
|
71,0 |
68,8 |
20,9 |
555 |
1,5 |
4,0/1500 |
2 |
|
|
90,0 |
89,7 |
16,2 |
585,4 |
1,3 |
5,5/1500 |
2 |
|
|
112 |
114,7 |
12,6 |
332,9 |
2,1 |
4,0/1500 |
2 |
|
|
112 |
115,5 |
12,6 |
454,6 |
1,5 |
5,5/1500 |
2 |
|
|
140 |
146,2 |
9,9 |
490 |
1,3 |
7,5/1500 |
2 |
|
|
180 |
186,7 |
7,8 |
562,7 |
1,1 |
11/1500 |
2 |
|
|
224 |
235,9 |
6,2 |
445,4 |
1,2 |
11/1500 |
2 |
|
|
400 |
414 |
7 |
340 |
0,9 |
15/3000 |
2 |
|
|
460 |
468 |
6,2 |
300 |
0,9 |
15/3000 |
2 |
|
|
460 |
468 |
6,2 |
220 |
1,2 |
11/3000 |
2 |
Пример условного обозначения при заказе:
Мотор-редуктор 5МП50–45–2,2–G110, где:
5МП50 - тип мотор–редуктора;
45 - номинальная частота вращения выходного вала, об/мин;
2,2 - мощность электродвигателя, кВт;
G110 - конструктивное исполнение по способу монтажа.